布袋除尘器除尘布袋的质量及选型的重要性
编辑:除尘器厂家 来源:www.bthshb.com 2018-07-24
信息详情
布袋除尘器在很多行业都有着非常重要的作用,它主要是利用布带纤维空气中的尘埃进行过滤。在选择布袋除尘器型号时也有着很多的注意事项的,因为每种不同的型号所适用的范围都是不一样的,所以在选型时要多加注意。

利用纤维织物的过滤作用对含尘气体进行过滤,当含尘气体进入袋式除尘器后,颗粒大、比重大的粉尘,由于重力的作用沉降下来,落入灰斗,含有较细小粉尘的气体在通过滤料时,粉尘被阻留,使气体净化,除尘,一般在以上,高达到。其广泛应用于工矿企业。
作为布袋除尘器关键性的配件,布袋性能与质量的好坏在很大程度上决定着布袋除尘器的工作效率以及使用寿命的长短,通常来说,布袋质量越好,除尘的工作效率越高、使用寿命越长。而布袋的选型同样制约着除尘效果的好坏,如出现“以大带小”的状况,即会出现龙骨(支撑布袋的结构件通常称为龙骨)与布袋结合不严。

烟尘会通过缝隙漏出,然后自烟囱冒出,并产生一系列不良反应;如出现“以小带大”虽然也可以使用,但在吸附比重较大的粉尘后,使用一段时间便会出现掉袋现象,烟囱经常出现冒黑烟状况。
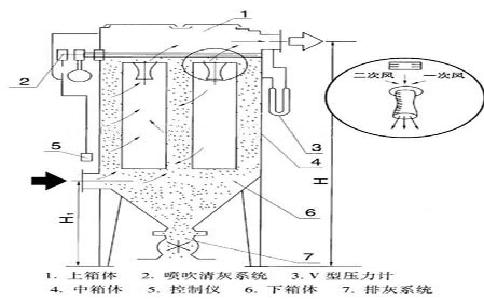
布袋除尘器的反吹系统是整个除尘器长期运行的。当前应用较为普遍和广泛的反吹系统多为脉冲式反吹,此种清灰方式主要是根据反吹空气压力原理来进行的,具有良好的清灰效果和较高的自动化程度。而脉冲式反吹法同样存在较多的缺点。

除尘器本体和除尘点的密封情况直接影响除尘效果。布袋除尘一般都是负压运行,如漏风易形成小回路短路,除尘系统的风量造成浪费而导致正压扬尘。
刨除原设计缺陷、机械故障外,由于管理及操作不善导致的除尘管道内部积灰、灰仓蓬料、冷却仓堵塞等,均会造成除尘器整体阻力不断上升,近而影响除尘效果。






